教学质量
当前位置: 首页 -> 新闻通告 -> 教学质量 -> 正文

2025-2026学年秋季学期开展课程教学质量检查的通知

发布日期:2025-10-10    点击量:

2025-2026学年季学期开展课程教学质量检查的通知

                                   教务处【2025】32

各学院(系、单位):

为保障本科教育教学质量,推进“让每个学生更优秀”的教育理念,提升学生学习满意度,促进课程持续改进,请各学院结合教学思想大讨论,继续开展课程教学质量检查工作,详细部署如下。

1.工作内容

1)请各学院就课程教学质量检查召开师生座谈会,广泛听取师生关于课程教学的意见和建议,课程覆盖率不低于本学院开课数量的30%,学生参与率不少于全院学生数的5%(人数10人以上),师生座谈会的形式自定。

2)请各学院组织授课教师开展课程教学质量检查,听取学生关于课程设置、教学情况、实验教学条件及教学质量等的反馈,并给出持续改进举措。

两部分工作由学院制定工作方案、统筹开展,建议邀请校院两级督导参与。对于工作中发现的问题或师生提出的合理性建议,应给予重视并制定持续改进举措。

2.工作要求

为不断提升工作质效,优化工作机制和流程,从2025年春季学期起相关工作要求做如下调整:

1)课程教学质量检查工作总结

相关内容合并到《年度院系本科教育教学自评估报告》中进行集中呈现,重点突出发现问题,整改举措及相关工作成效。由学校督导进行统一评议和意见反馈。故各院(系)无需单独提交工作总结

2)课程教学质量检查基本信息反馈

请各院(系)组织完成课程教学质量检查工作后,反馈基本信息至共享表格【金山文档 | WPS云文档】 2025-2026学年秋季学期课程教学质量检查基本信息反馈表

https://365.kdocs.cn/l/coHgdkcWGTKN

3)校级层面意见和建议提交

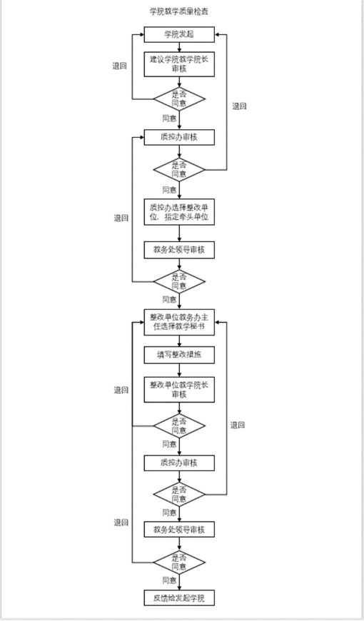
学校全面推行“本科教育教学质量持续改进流程(课程检查)”线上提交、审批及反馈流程。针对师生座谈中反馈的校级层面合理化建议与意见,请各学院(系)进行综合统筹、整理和讨论后,通过“交我办”线上提交。

提交路径:“交我办”app-教务处---本科教育教学质量持续改进流程(课程检查)。

注意事项:

①涉及到校级层面需要协调整改的建议,如果业务归属单位为职能部处问题,请按照业务归属(教务处业务请以办公室为单位),逐条提交;如涉及到课程内容等开课学院问题建议,请根据开课单位归属,逐条提交;

②仅涉及到本学院内部的问题整改建议,无需系统提交,请学院后续自行整改之后,年度自评估报告中反馈即可;

3.完成时间

2025年1212日前(第13周周五)。

请各院(系、单位)认真部署此项工作。

工作联系人:张亭亭,电话:34206426-8003。


           教务处

                                 2025年1010

















附:“本科教育教学质量持续改进流程(课程检查)”流程图